Содержание
Узлы фальцевой кровли
Меню
Главная
Сертификаты
Прайс-Лист
О компании
Контакты
О компании
Строительные материалы для кровельных и фасадных работ всегда в наличии на нашем складе и Вы можете приобрести их оптом или в розницу. У нас в свободной продаже имеется максимальное количество товарных единиц. Так же возможна продукция на заказ.
Таблица цветов
Таблица самых востребованных Ral цветов полимерных покрытий металлопроката.
Погода
|
Виды соединений фальцевой кровли: достоинства и недостатки материала
Фальцевая кровля состоит из металлических панелей — картин, скреплённых друг с другом специальным соединением — фальцем. О возможных способах соединения фальцевой кровли, её примыканиях к стенам и трубам, а также преимуществах расскажем ниже.
Фальцевое соединение — это разновидность скрепления пластин металла при помощи их изгиба в замок. Существует несколько разновидностей соединений фальцевой кровли. По внешнему виду их делят на лежачие и стоячие. Первые применяют при стыковке панелей вдоль скатов, вторые — при соединении лежащих поперек элементов.
По степени уплотнения соединения делят на одинарные и двойные. У первых простой закрытый шов, а для вторых используют двойной загиб кромки.
Одинарный лежачий фальц
Одинарный лежачий фальц используют на крышах с углом наклона не меньше 10°. Его применяют при поперечном соединении картин.
Этот вид прост в изготовлении, его можно сделать с помощью минимального набора инструментов. Но есть у одинарного лежачего фальца и недостатки: не самая надёжная герметичность швов и сложности с качественным закатыванием, что может привести к ослаблению соединений. Использование одинарного лежачего фальца рекомендуемо на крышах, где не появляются лужи.
Одинарный стоячий фальц
Одинарный стоячий фальц представляет собой соединение картин, уложенных перпендикулярно коньковой линии ската.
Такой фальц легко и относительно быстро монтировать, для этого не нужны навороченные инструменты. Ремонтировать кровлю с одинарным стоячим фальцем также просто, но у него также есть недостатки.
Прежде всего, нужно помнить о том, что из-за низкой герметичности швы могут использоваться исключительно на скатах с углом наклона не менее 10°. Соединение шва может разойтись из-за банального попадания по нему ногой забравшегося на крышу человека. Поэтому одинарный стоячий фальц хорошо использовать при создании кровель с высоким углом наклона и на крышах, где не предусмотрены нагрузки на кровельное полотно.
Двойной фальц
В отличие от одинарного фальца, это более трудоемкий вид соединения. Он выполняется аналогично одинарному, но кромка каждого листа загибается два раза. Такое соединение обеспечивает повышенную герметичность кровли. Используют двойной фальц на крышах с уклоном наклона от 3°. В зависимости от способа соединения картин его разделяют на двойной стоячий и двойной лежачий фальц.
Двойной лежачий фальц
Двойной лежачий фальц применяют на тех скатах, где картины уложены параллельно линии конька крыши. Его применяют для соединения карнизных свесов.
Двойной стоячий фальц
Двойной стоячий фальц используют при поперечной укладке картин относительно линии конька крыши.
Устройство этого фальцевого соединения подразумевает сначала создание «Г-образного» стоячего фальца, а затем его загибание на 90°. Такой фальц имеет жёсткое соединение, благодаря которому достигается герметичность между листами.
Кликфальц
Кликфальц также является очень прочным. Две картины скрепляют друг с другом без применения специального инструмента. Это значительно сокращает время установки фальцевой кровли. Панель просто вставляют шов в шов и защелкивают без помощи инструментов. Картины с такими швами применяют для укрытия крыш с уклоном от 16°.
У фальцевой кровли есть ряд преимуществ. Рассмотрим их подробнее.
- Привлекательный внешний вид. Фальцевая кровля смотрится красиво.
- Герметичность соединений. Фиксация проходит скрытым способом при помощи кляммеров (двойной фальц) либо саморезов (кликфальц).
- Относительно небольшой вес. Благодаря этому преимуществу снижена нагрузка на стропила.

- Возможность применения на разных крышах. Фальцевую кровлю можно использовать на крышах с уклоном от 3° (для двойного стоячего фальца) и от 16° (для кликфальца).
- Разнообразие форм. Возможность укрыть крыши сложных форм, например, луковичные или купольные (при использовании соединения двойной фальц).
- Стойкость к перепадам погоды. Хорошо переносит и снег, и зной.
- Длительный срок службы. Он может составлять до 50 лет, это зависит от выбранного материала и покрытия.
- Неприхотливость в уходе. Фальцевую кровлю легко мыть и чистить.
Недостатки у фальцевой кровли также присутствуют. К ним относят следующие:
- Относительно сложный монтаж. Установку фальцевой кровли могут выполнять лишь квалифицированные специалисты. Соответственно, за их работу придётся заплатить определённую сумму.
- Шум от града и дождя. Эту проблему можно решить, укладывая под кровельный материал качественную теплоизоляцию.

- Высокая теплопроводность. Металл сильно нагревается на солнце.
- Способность накапливать статическое электричество. Решение вопроса требует наличия молниеотводов.
- Возможность быстрого схода снежной массы с крыш. С гладкой поверхности снег сходит легче.
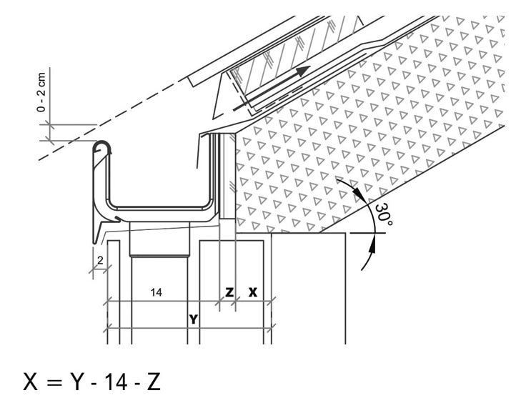
Кровельные узлы представляют элементы кровли, соединяющие части крыши между собой и детали для перехода с одной плоскости кровли на другую. Один из наиболее сложных видов узлов фальцевой кровли — примыкание фальцевой кровли к трубе и к стенам.
В местах примыкания кровли к стене, трубам и окнам устанавливают пристенный профиль. Его накладывают на фальцевые панели и крепят к стене. Отметим, что у панелей по краю примыкания к стене выполняется отгибка вверх на 25 мм.
Расскажем о том, как установить пристенный профиль подробнее на примере мест примыкания к трубе.
Сначала нижний пристенный профиль устанавливают к нижней грани трубы. Предварительно профиль подгоняют по её ширине.
Выступающие вертикальные части снизу подрезают и загибают на боковые грани трубы. Крепят профиль к трубе дюбелями, обрабатывая места крепления герметиком.
Следующий этап — установка фальцевой кровли на боковые грани трубы. Для этого по размерам боковых граней трубы подгоняют два пристенных профиля. Их монтаж проходит аналогично процессу установки нижнего профиля. Пристенный профиль крепят к фальцевым панелям кровельными саморезами с уплотнительной прокладкой.
После этого пристенный профиль устанавливают на верхнюю грань трубы. Выступающие вертикальные части снизу подрезают, загибая на боковые грани трубы и закрепляя дюбелями.
Затем поверх пристенных профилей и боковых фальцевых панелей устанавливают верхнюю фальцевую панель. Между нижним краем панели и трубой важно оставить зазор не менее 100 мм. Пятидесятимиллиметровый нижний край стоячего фальца лучше обработать герметиком для фальцевой кровли.
Таким образом, можно сделать примыкание фальцевой кровли к трубе. Подчеркнем, что это один из способов.
Фальцевая кровля — современный строительный материал, из которого реально делать крыши сложных форм. К достоинствам материала относят небольшой вес и возможность использования на крышах с уклоном от 3° и от 16°. При этом её установку могут выполнять только квалифицированные специалисты, способные читать чертежи фальцевой кровли и знающие, как правильно сделать её монтаж.
Будьте в курсе!
Подпишитесь на новостную рассылку
Открытый шов При превращении в узел с крышей, созданной штормом, при разговоре изнутри
| Титул: | Открытый шов при превращении в узел с крышей, созданной штормом, при разговоре изнутри |
| Автор(ы): | Лаутербах, Глория Фелисия |
| Дата: | org/cocoon/i18n/2.1″> 2022 |
| Язык: | и |
| Страниц: | 176 |
| Отдел: | Taiteen ja median laitos Департамент искусства и СМИ |
| ISBN: | 978-952-64-0886-6 (электронный) 978-952-64-0885-9 (печатный) |
| Серия: | Серия публикаций Университета Аалто ДОКТОРСКИЕ ТЕЗИСЫ, 104/2022 |
| ISSN: | 1799-4942 (электронный) 1799-4934 (печатный) 1799-4934 (ISSN-L) |
| Руководящий(ие) профессор(ы): | Эль Барони, Бассам, доцент, Университет Аалто, факультет искусства и медиа, Финляндия |
| Руководитель(и) диссертации: | org/cocoon/i18n/2.1″> Mäkikoskela, Riikka, Dr., Университет Аалто, Финляндия |
| Тема: | Философия, Изобразительное искусство |
| Ключевые слова: | художественное исследование, постгуманизм, диалогическое мышление, материальное сотрудничество |
| Архив | да |
» Показать полную запись элемента | |
Abstract: Центральным понятием, исследуемым в данной диссертации в области художественных исследований, является кооперация материалов. Диссертация разделена на три части: раскопки, экспозиция и выветривание. Три процесса позволяют использовать понятие материального сотрудничества, уделяя особое внимание местоположению, времени и деятельности.
Учитывая нынешнее кризисное время, исследование подчеркивает безотлагательность переосмысления пространства сотрудничества между «одним» и «другим». В данной диссертации это понятие «ожидание и уступка», озвученное диалогическим философом Мартином Бубером, творчество финской скульптора Эйлы Хилтунен, собственная художественная практика художника-исследователя, ремесло и анекдоты художницы-исследователя. деда исследователя, а также постантропоцентрические концепции Рози Брайдотти, которые активизируют практику переосмысления промежуточного.
Как площадка, где происходит общий процесс выветривания – художественная составляющая докторской диссертации, скульптура в виде штормовой крыши, основанная на реальном метеорологическом явлении, – предоставляет средства для отработки и изучения обмен действиями между самой художницей-исследователем, атмосферным состоянием и медью как рабочим материалом.
Диссертация способствует переосмыслению существующих материальных видений. Это требует, как утверждается, реконтекстуализации подходов к материалу, которые имели место в прошлом. Именно эти понятия из прошлого, невидимые, позволяют, однажды раскопав, возродить современные понятия, чтобы регенерировать их для будущих приложений.
В заключение диссертация предлагает три момента на пути к жизненно важному материальному сотрудничеству. 1) Через приемы завязывания и переплетения происходит новая встреча, уравновешивающая плотность и инерцию материального состава. Этот первый момент требует длинного мышления и круговых движений. | |
Постоянная ссылка на этот элемент:
Отправить по электронной почте Экспортировать в RefWorks QR-код Распечатать BibTex Твитнуть | |
Имя:
isbn9789526408866.pdf
Размер:
29.
61Мб
Формат:
PDF
Если не указано иное, все права принадлежат автору. Вы можете загружать, отображать и распечатывать эту публикацию для личного использования. Коммерческое использование запрещено.
Семинар Технология двухзамкового стоячего шва Школа Юрия Нуштаева
Программа семинара
Программа практического семинара «Технология двухзамкового стоячего шва. Основные узлы и соединения»
(перечислены пункты основных задач и возможен разбор дополнительных заданий)
- теоретические основы формирования кровельного покрытия по технологии двухзамкового стоячего фальца..
- Формирование заготовок деталей покрытия и рядовых рисунков покрытия с использованием ручных инструментов и на станках.
- Формирование внутреннего угла детали покрытия на стыке с вертикальными поверхностями.
- Формирование торцевого шва на карнизе крыши (радиусный и скошенный варианты).

- формирование «манчестерского» торцевого шва на коньке и в месте стыка с вертикальными поверхностями.
- Формирование внутреннего угла обшивки детали фальцевым швом.
- формирование радиального перехода двойной складки в вертикальную поверхность (при открытой складке).
формирование прямого перехода двойной складки на вертикальную поверхность.
установка (герметизация) круглой трубы на поверхность кровельной части. Заклепка трубы. (дополнительно по мере выполнения основного задания).
изготовление фартука-трубы с прямыми подводками складок по низу вручную (по месту).
применение шаблонов при изготовлении фартука трубы и «шведский» способ формирования фартука трубы. (дополнительно по мере выполнения основного задания).
формирование узла соединения частей ендовы по вершине гребня. Сокращение долин.
образование пересечения гребневого и реберного швов на бедре.

изготовление фартука из трубы с диагональными швами в нижней части методом «закрытых фальцев». Одностороннее пандусное устройство за трубой.
формирование оклада мансардного окна по технологии двойного шва без применения оклада заводского изготовления. (по мере выполнения основной задачи).
выполнение узла «на выбор» по желанию слушателей (их большинство) также при условии выполнения основной задачи семинара, которая была озвучена выше.
Часто задаваемые вопросы:
Где проходят ваши семинары и как к вам добраться?
Практические семинары проводятся в г. Днепр (Днепропетровск/Днепр).
Предоставляете ли вы жилье?
К сожалению, у нас нет возможности разместить слушателей на нашей территории. На данный момент существует практика, когда при окончательном наборе группы слушатели объединяются в мини-команды по 2-3 человека.
И снимают квартиру самостоятельно на период учебы. Получается намного экономичнее, чем жить одному, снимая номер в гостинице. Иногда нас просят порекомендовать арендаторов. Мы этого не делаем принципиально, по той причине, что зачастую наши гости по-разному относятся к условиям проживания и обслуживанию. В городе большой выбор отелей и квартир в аренду.
Нужно ли мне брать с собой инструменты и рабочую одежду?
Вам будут предоставлены все инструменты и оборудование, необходимые для занятий. Вам не нужно ничего брать с собой. Занятия проходят в светлом, чистом и теплом помещении. Поэтому вы можете одеться в любую одежду, которая вам удобна.
Нужны ли какие-то специальные навыки и знания, или эти мастер-классы для начинающих?
Да, базовый практический семинар для начинающих. Негативный опыт работы с металлом скорее мешает, чем помогает.
Выдаете ли вы сертификат об окончании курса?
По окончании практических семинаров студенты получают сертификат нашей школы.
Это не государственный документ. Мы не проводим экзамены и не присваиваем квалификационные разряды.
Питание, кофе-брейк
Полноценный обед и все для кофе-брейков в течение учебного дня (чай, кофе, печенье) входит в стоимость семинара.
Финики
Актуальная информация о следующем семинаре будет публиковаться на сайте и на наших страницах в Instagram — @falzbooks, @yuriinushtaev и FB — @falzbooks
Адрес
Практические семинары проводятся в г. Днепр (Днепр/Днепропетровск)
Рабочие моменты
Рабочие моменты
Для быстрой навигации по пунктам данного раздела:
-День 1, — День 2, — День 3, — День 4, — День 5, — День 6, — День 7, — День 8, — День 9
Тема 1-го дня:
- Принципы устройства фальцевой кровли.
- Пересечения двойных складок. Начинать.
901 01
Тема 2-го дня семинара:
- Пересечение двойных швов.
Продолжение. - «Манчестер фолд».
- Радиус конца складок.
901 01
Тема 3-го дня семинара:
- «Бюнднер» складка.
- Фартук примыкающий к трубе «из листа» (без разметки). Начинать.
90 101
Тема 4-го дня семинара:
- Фартук примыкания к трубе «из листа» (без маркировка). Концовка.
- Фартук из труб с переходами радиусных швов «шведского» типа. «Шведские штаны» «на любителя»
Тема 5-го дня семинара:
- Трубный фартук с использованием «шведского» радиусного шва.
«Шведские штаны» «на любителя». Концовка. - Пересечение складок в верхней части бедра.
- Работа с построением лекал и вручную.
9010 2
Тема 6-го дня семинара:
- Выравнивание ложбин по вершине гребня.
- Мансардное окно. Начинать.
901 01
Тема 7-го дня семинара:
- Мансардное окно.
- Фартук трубы с пазом на задней стенке и диагонально расположенными складками на стыке деталей.
901 01
Тема 8-го дня семинара:
- Фартук трубы с пазом на задней стенке и диагонально расположенными складками на стыке деталей.


Один из основных критериев — наличие подкровельной вентиляции.
п.
Качественный подоконник — не только функциональная деталь окна, но и эстетическое решение системы защиты.


Методы, основанные на практике, применяемые в этой диссертации — завязывание, переплетение, репетиция и разговор с — обеспечивают жизненно важные связи между многогранностью и множественностью темпоральностей, прокладывая путь к диалогу между различными поколениями, материальными видениями и агентами.
2) Благодаря постоянному повторению этой новой встречи формируется новое воспоминание, которое в этом тезисе называется пробным камнем. Этот пробный камень временно удерживает пространство открытым и направляет будущие встречи. 3) Благодаря разговору с взаимодействующими материалами во временном пространстве, материалы раскрываются для совместной и активной погоды. В этот последний момент пространство «одного» и «другого» становится пространством между ними, пространством многих. Вместо того, чтобы сосредотачиваться на знаниях и обучении, это пространство выдвигает на первый план трансформацию, экспериментирование, заботу и желание.

Продолжение.
«Шведские штаны» «на любителя». Концовка.